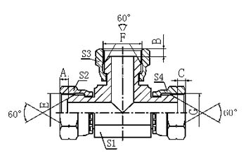
| 代 号 |
螺 纹 THREAD |
尺 寸 DIMENSIONS |
| PART NO. |
E |
F |
G |
A,B,C |
S1 |
S2,S3,S4 |
| DB-02 |
G1/8"X28 |
G1/8"X28 |
G1/8"X28 |
5.5 |
11 |
14 |
| DB-04 |
G1/4"X19 |
G1/4"X19 |
G1/4"X19 |
5.5 |
11 |
19 |
| DB-06 |
G3/8"X19 |
G3/8"X19 |
G3/8"X19 |
6.3 |
14 |
22 |
| DB-08 |
G1/2"X14 |
G1/2"X14 |
G1/2"X14 |
7.5 |
19 |
27 |
| DB-10 |
G5/8"X14 |
G5/8"X14 |
G5/8"X14 |
9.5 |
22 |
30 |
| DB-12 |
G3/4"X14 |
G3/4"X14 |
G3/4"X14 |
10.9 |
24 |
32 |
| DB-16 |
G1"X11 |
G1"X11 |
G1"X11 |
11.7 |
30 |
41 |
| DB-20 |
G1.1/4"X11 |
G1.1/4"X11 |
G1.1/4"X11 |
11 |
36 |
50 |
| DB-24 |
G1.1/2"X11 |
G1.1/2"X11 |
G1.1/2"X11 |
13 |
48 |
55 |
| DB-32 |
G2"X11 |
G2"X11 |
G2"X11 |
16 |
55 |
70 |
| |
|
|
|
|
|
|
|